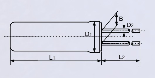
石英晶振,時鐘晶體,2*6晶振
頻率:32.768KHz
尺寸:2.0*6.0mm
我司金洛鑫電子秉承“顧客至上,銳意進取”的經營理念,堅持“客戶第一”為廣大客戶提供優勢的服務.上述描述中均為晶振廠家金洛鑫電子標準規格.頻點及其工作溫度范圍可根據客戶指定規格進行定制或生產,如有需要可以聯系我司石英晶振業務部.就可為您提供產品定制,為您的產品品量身打造.晶振查詢—實時報價—確認交期—訂單下訂—貨款支付—完成交貨等一系列專業的晶振訂購一站式優質服務.
金洛鑫電子成立十幾年來,一直是各大用戶心目中的優選產品,口碑與實力并存.并且還代理了日本、臺灣等多家世界知名品牌晶振,訂購進口晶振三天打樣,七天準時交貨,主要面向的客戶群體有電子產品生產商,智能手機,智能家居,無人機,機器人,數碼IT,鐘表類等多個產品領域,每月生產的晶振數量達5000萬以上,掌握了貼片晶振的核心技術,可為客戶提供技術支持服務和免費樣品.
石英晶振,時鐘晶體,2*6晶振.32.768K時鐘晶體具有小型,薄型,輕型的貼片晶振表面音叉型晶體諧振器,產品具有優良的耐熱性,耐環境特性,可發揮晶振優良的電氣特性,符合RoHS規定,滿足無鉛焊接的高溫回流溫度曲線要求,金屬外殼的封裝使得產品在封裝時能發揮比陶瓷諧振器外殼更好的耐沖擊性.
石英晶振真空退火技術:晶振高真空退火處理是消除貼片晶振在加工過程中產生的應力及輕微表面缺陷。在PLC控制程序中輸入已設計好的溫度曲線,使真空室溫度跟隨設定曲線對晶體組件進行退火,32.768K晶振通過合理的真空退火技術可提高晶振主要參數的穩定性,以及提高石英晶振的年老化特性。2.0*6.0mm晶振,圓柱插件晶體諧振器,2*6晶振
|
石英晶振 |
標示 |
2*6晶振 |
基本信息對照表 |
|
crystal標準頻率 |
f_nom |
32.768KHz |
標準頻率 |
|
儲存溫度 |
T_stg |
-20°C~+75°C |
裸存 |
|
工作溫度 |
T_use |
-20°C~+70°C |
晶振標準溫度 |
|
激勵功率 |
DL |
1.0μW Max. |
推薦:1μW ~ 100μW |
|
頻率公差 |
f_— l |
±20× 10-6 (標準) |
+25°C 對于超出標準的規格說明 |
|
頻率溫度特征 |
f_tem |
±20× 10-6/-10°C ~+60°C |
超出標準的規格請聯系金洛鑫電子. |
|
負載電容 |
CL |
12.5pF |
超出標準說明,請聯系金洛鑫電子. |
|
串聯電阻(ESR) |
R1 |
如下表所示 |
-10°C ~+60°C, DL = 1.0μW |
|
頻率老化 |
f_age |
±3× 10-6 / year Max. |
+25°C,第一年 |
<晶體諧振器>
如果過大的激勵電力對無源晶振外加電壓,有可能導致特性老化或損壞,因此請在宣傳冊、規格書中規定的范圍內使用。
讓無源晶振振蕩的電路寬裕度大致為負性阻抗值。本公司推薦此負性阻抗為諧振器串聯電阻規格值的5倍以上,若是車載和安全設備,則推薦10倍 以上。2.0*6.0mm晶振,圓柱插件晶體諧振器,2*6晶振
<晶體振蕩器>
晶體振蕩器的內部電路使用C-MOS。閉鎖、靜電對策請和一般的C-MOS IC一樣考慮。
有些石英晶體振蕩器沒有和旁路電容器進行內部連接。使用時,請在Vdd-GND之間用0.01μF左右的高頻特性較好的電容器(陶瓷片狀電容器等)以 最短距離連接。關于個別機型請確認宣傳冊、規格書。
<晶體濾波器>
注意電路板圖形的配置,避免輸入端子和輸出端子靠得太近。如果貼裝晶體濾光片的電路板的雜散電容較大,為了消除該雜散電容,有時需要配置調諧電路。
如果過大的激勵電力對諧振器外加電壓,有可能導致特性老化或損壞,因此請在濾波器的輸入電平在−10dBm以下的狀態下使用。
<光學產品>
由于制造過程中進行了灰塵等異物管理,因此包裝開封以后,請在進行清潔度管理的環境中使用。石英晶振,時鐘晶體,2*6晶振
1、振蕩電路
32.768K圓柱晶振是無源元件,因此受到電源電壓、環境溫度、電路的影響。
配置、電路常數和襯底布線模式等操作大致分為正常運行和
異常運行。因此,在振蕩電路的設計中,先決條件之一是如何確定振蕩電路。
晶體諧振器的振動安全穩定。只有在做出了這個決定之后,后續的項目,例如
討論了頻率精度、頻率變化、調制度、振蕩起始時間和振蕩波形。2.0*6.0mm晶振,圓柱插件晶體諧振器,2*6晶振
2。角色的分量與參考值
在振蕩電路的設計中,必須認識到個體的作用。
組件.在表1中,以例如振蕩電路為例來描述角色。
(圖1)使用一個通用的C-MOS IC(74hcuo4ap東芝)。
當反饋電阻(rf)未安裝在振蕩電路中時,如圖所示
表1,即使在振蕩功率作用下,諧振器也不會啟動振蕩。
電路。除非有適當值的電阻器連接,否則振蕩不會啟動。
晶體諧振腔的形式模式,但泛音振蕩或基波。
振蕩開始代替。在基本諧振的情況下(MHz頻段)反饋電阻通常是1米?。在
泛音諧振器(兆赫頻帶)的情況下,值取決于IC和頻率特性,但在幾個范圍內。
K?-?幾十K。在圓柱音叉表晶的案例(kHz頻段),需要連接一個電阻10米或更?。
限制流入2*6mm插件晶振的電流,調節負電阻和勵磁。
電平,防止諧振腔的反常振蕩,抑制頻率波動。
C1、C2電容器調節負電阻、勵磁電平和振蕩頻率。還設置有
給定負載能力。石英晶振,時鐘晶體,2*6晶振
適當的控制電阻值(RD)取決于諧振器的類型,頻帶和設備的價值。
電容器(C1,C2)。精確值是通過測量振蕩電路的特性來確定的(包括
負電阻和驅動級)。AT切割諧振器(兆赫頻帶)的參考值在幾個范圍內。
?幾K?。音叉式諧振器(kHz頻段)的參考值在100 K?幾K?范圍。
安裝電容器的適當值取決于諧振器的類型、頻帶、控制電阻器的值和
振蕩的順序,在3 pF的范圍內- 33 pF左右,僅供參考。
公司名:深圳市金洛鑫電子有限公司
聯系人:茹紅青
手機:13510569637
電話:0755-27837162
QQ號:657116624
微信公眾號:CITIZENCRYSTAL
搜狐公眾號:晶振石英晶振NDK晶振
郵箱:jinluodz@163.com
地址:深圳市寶安區41區甲岸路19號
相關的產品 / Related Products

- KDS插件晶振,32ETJS070FJ,DT-26音叉晶體,32.768K時鐘晶振
- KDS插件晶振,32ETJS070FJ,DT-26音叉晶體,32.768K時鐘晶振,2*6mm 尺寸的圓柱晶振是市場上需求量非常大的兩種插件晶振,大部分的進口的晶振廠家都是依靠這些圓柱插件形的音叉晶體發家致富,并成為聞名全世界的品牌, 2.0x6.0晶振的用途廣泛,體積小,起振快,成本低,因為這些優勢很快便占據市場的大半份額,每年用掉的數量達 10 億顆以上。進口插件晶振32ETJS070FJ的頻率是32.768KHZ,為DT-26音叉晶體。該KDS插件晶振是一種圓柱形音叉晶體諧振器,為低功耗音叉晶體諧振器,不僅適用于手表,還適用于從工業設備到消費和家用電子產品中的時鐘功能的廣泛其他應用。

- Raltron晶振,石英晶振,R26晶振
- 插件石英晶振最適合用于比較低端的電子產品,比如兒童玩具,普通家用電器,即使在汽車電子領域中也能使產品高可靠性的使用.并且可用于安全控制裝置的CPU時鐘信號發生源部分,好比時鐘單片機上的石英晶振,在極端嚴酷的環境條件下,晶振也能正常工作,具有穩定的起振特性,高耐熱性,耐熱循環性和耐振性等的高可靠性能.

- 瑞士微晶晶振,石英晶振,DS26晶振
- 引腳焊接型石英晶體元件.工廠倉庫長時間大量庫存常用頻點,.高精度的頻率和晶振本身更低的等效串聯電阻.常用負載電容,因插件型鏡頭成本更低和更高的批量生產能力.主要應用于電視,機頂盒,LCDM和游戲機家用常規電器數碼產品等的最佳選擇.符合RoHS/無鉛.
JLX-PD
金洛鑫產品系列
PRODUCT LINE
石英晶振
QuartzCrystal
- KDS晶振
- 愛普生晶振
- NDK晶振
- 京瓷晶振
- 精工晶振
- 西鐵城晶振
- 大河晶振
- 村田晶振
- 泰藝晶振
- TXC晶振
- 鴻星晶振
- 希華晶振
- 加高晶振
- 百利通亞陶晶振
- 嘉碩晶振
- 津綻晶振
- 瑪居禮晶振
- 富士晶振
- SMI晶振
- Lihom晶振
- SHINSUNG晶振
- NAKA晶振
- AKER晶振
- NKG晶振
- NJR晶振
- Sunny晶振
貼片晶振
SMDcrystal
- CTS晶振
- 微晶晶振
- 瑞康晶振
- 康納溫菲爾德晶振
- 高利奇晶振
- Jauch晶振
- AbraconCrystal晶振
- 維管晶振
- ECScrystal晶振
- 日蝕晶振
- 拉隆晶振
- 格林雷晶振
- SiTimeCrystal晶振
- IDTcrystal晶振
- PletronicsCrystal晶振
- StatekCrystal晶振
- AEK晶振
- AEL晶振
- Cardinal晶振
- Crystek晶振
- Euroquartz晶振
- Fox晶振
- Frequency晶振
- GEYER晶振
- KVG晶振
- ILSI晶振
- Mmdcomp晶振
- MtronPTI晶振
- QANTEK晶振
- QuartzCom晶振
- Quarztechnik晶振
- Suntsu晶振
- Transko晶振
- Wi2Wi晶振
- ITTI晶振
- Oscilent晶振
- ACT晶振
- Rubyquartz晶振
- MTI-milliren晶振
- PDI晶振
- IQD晶振
- Microchip晶振
- Silicon晶振
- Anderson晶振
- Fortiming晶振
- CORE晶振
- NIPPON晶振
- NIC晶振
- QVS晶振
- Bomar晶振
- Bliley晶振
- GED晶振
- FILTRONETICS晶振
- STD晶振
- Q-Tech晶振
- Wenzel晶振
- NEL晶振
- EM晶振
- PETERMANN晶振
- FCD-Tech晶振
- HEC晶振
- FMI晶振
- Macrobizes晶振
- AXTAL晶振
- ARGO晶振
- 瑞薩renesas晶振
- Skyworks晶振

手機版













