瑞士微晶晶振推出新型TS-3032-C7數字溫度傳感器模塊TS -3032-C7-TA-QC
這款溫度傳感器具有超低功耗的出色性能,允許具有中斷功能和時間戳的溫度上限和下限,并通過集成32.768 KHz晶體的嵌入式實時時鐘電路得到增強。它提供所有標準RTC功能(日期/時間、定時器、警報、外部事件),包括最佳溫度補償時間精度(0.22秒/天漂移),以及帶電荷泵的新型涓流充電器。
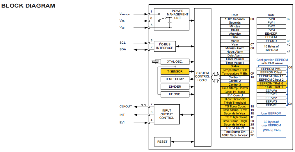
TS-3032-C7數字溫度傳感器模塊特征
性能
溫度監控
-
12位溫度傳感器: -
精度:1°C(典型值)。從-40攝氏度到+85攝氏度 -
精度:典型值±4°C。從+85℃到+105℃ -
分辨率:(0.0625攝氏度/步) -
自動溫度刷新(1赫茲) -
高低溫警報和時間戳
-
-
超低功耗,延長電池壽命: -
1.3 V至5.5 V工作電壓 -
測量期間的工作電流為14 A -
160 nA待機和計時電流(3 V和25°C)
-
-
易于集成、低熱質量、小尺寸和低輪廓 -
3.2毫米x 1.5mm毫米x 0.8mm毫米,8針
-
計時
-
工廠校準的溫度補償: -
-40至+105攝氏度
-
-
高時間精度: -
1.5 ppm (0至+50攝氏度) -
2.5 ppm (-40至+85攝氏度) -
20 ppm (+85至+105攝氏度)
-
動力管理
-
具有中斷功能的自動備份切換 -
帶多功能電荷泵的涓流充電器允許: -
VBACK ≥ VDD -
使用1.75 V TDK CeraCharge
-
-
帶中斷的電源電壓下降檢測(1.3 V)
篡改檢測/欺詐保護
-
帶中斷的帶時間戳的外部事件輸入檢測 -
防止黑客入侵的可編程密碼保護 -
配置EEPROM -
帶中斷的帶時間戳和可編程溫度窗口檢測
標準中斷
-
內部上電復位 -
周期性倒計時定時器 -
定期時間更新(秒、分鐘) -
日期、小時和分鐘鬧鈴
時間和頻率函數
-
第100秒,秒,分鐘,小時,日期,月,年和工作日 -
自動閏年校正 -
可編程EEPROM老化補償 -
外設的可編程時鐘輸出: -
晶體模式: 32.768千赫、1024赫茲、64赫茲、1赫茲 -
高頻時鐘模式: 8192 Hz → 52 MHz,步進為8192 Hz,保證輸出信號完整性
-
存儲容量
-
16字節的用戶RAM -
32字節用戶EEPROM
通信接口
-
400 kHz集成電路總線接口
可靠性/認證
-
100%無鉛,符合RoHS標準 -
提供符合AEC-Q200的汽車認證
應用程序
-
精密溫度監控 -
RTD替換 -
物聯網(IoT)傳感器 -
低溫運輸系統 -
測量 -
可穿戴設備,便攜式設備 -
衛生保健 -
產業的 -
汽車的
新型TS-3032-C7數字溫度傳感器模塊超小尺寸和緊湊尺寸
“推薦閱讀”
相關新聞動態
- MTRONPTI新品來襲UFDX9999-002引領C波段新變革
- 解鎖Cardinal新一代陶瓷封裝可編程晶體振蕩器全功能應用新視界
- 京瓷突破750Mbps水下光通信開啟海洋通信新時代
- KYOCERA日本京瓷開發出超小型KC1210A系列時鐘用晶體振蕩器
- Murata村田NTC熱敏電阻小身材大能量
- 基于siC基板的GaN功率放大器為衛星通信航空航天及國防應用帶來了系統重量功耗和尺寸方面的優勢
- IQD推出IQXT-350系列微型外形高穩定性的TCXO振蕩器
- IQXC-240微型石英晶體
- Greenray推出新型的YH1485OCXO用于雷達儀器和軍事應用領域
- CTS開發用于日立sic基電動汽車動力模塊的電流感測

手機版










